QR kodea
Produktuak
Jarri gurekin harremanetan

Mugikorra

Faxa
+86-574-87168065

Posta elektronikoa

Helbidea
Luotuo Industrial Area, Zhenhai Barrutia, Ningbo hiria, Txina
Makineria astuna erabiltzen ari bazara (altzairuzko ijezketa-errotak metala txandaka botatzen duten, material tona altxatzen duten garabiak edo lur azpian hautsari eta presioari aurre egiten dioten meatzaritza-tresnak, esaterako), utziko ez zaituen akoplamendu bat behar duzu. Horixe da Raydafon-en SWC-BH Standard Flex Welding Mota Akoplamendu Unibertsala eraikita: momentuaren transmisio fidagarria, lana zakarra denean ere.
Hasteko, hitz egin dezagun bere diseinuari buruz. Soldatutako uztarria ez da ezaugarri bat bakarrik, joko-aldaketa bat da. Denborarekin askatu daitezkeen uztarri torlojudunak ez bezala, hau solidoa da soldatuta, beraz, ez dago piezak askatzeko arriskurik zure makineria gogor lanean ari denean. Eta konfigurazio sorta batera egokitzen da, 180 mm-tik 620 mm-ra arteko biraka-diametroekin, ez da bat-bateko aukerarik bilatu beharrik. Akoplamendu malgu unibertsal estandar gisa, 15 graduko deslerro angeluarra kudeatzen du, hau da, zure ardatzak ezin hobeto lerrokatuta ez badaude (eta izan gaitezen, oso gutxitan izaten dira), boterea mugitzen jarraitzen du. Nahiz eta momentua 1250 kN·m-ko potentzia larria izan, tinko mantentzen da, ez da totelka egiten, ezta tantarik ere.
Materialetan ere ez genuen gutxietsi. Gauza hau 35CrMo altzairuz egina dago, higadurari eusten dioten erresistentzia handiko gauzekin, meategi batean kolpatzen denean edo ijezketa-errota baten ondoan berotzen denean ere. Gainera, doitasuneko orratz errodamenduak jartzen ditugu, beraz, leun mugitzen da, marruskadura murrizten du eta akoplamendu merkeagoak baino askoz gehiago irauten du. Horregatik, makineria astunentzako akoplamendu unibertsaletarako aproposa da; ez du aste batzuetan bakarrik funtzionatzen; inguruan itsasten da, zure ekipoak martxan mantenduz. Eta aplikazio industrialetarako akoplamendu unibertsal soldatuak behar badituzu? Hau da: soldatutako diseinuak dardarak eta tentsioak hobeto maneiatzen ditu torlojudun alternatibak baino, beraz, denbora gutxiago ematen duzu konpontzen eta denbora gehiago lanean.
Raydafonen, hauek Txinan egiten ditugu, baina ez dugu kalitateari mozten. Urrats bakoitzak ISO 9001 arauak jarraitzen ditu —altzairua egiaztatzen dugu, soldadurak ikuskatzen ditugu, errodamenduak probatzen ditugu—, kalitate-arau globalak betetzen dituen akoplamendu bat lortzen ari zarela jakin dezazun. Eta zure konfigurazioa apur bat desberdina bada? Doikuntza pertsonalizatuak egiten ditugu (tamaina doitu, zehaztapenak moldatu), egokitzeko behar duzun guztia. Zatirik onena? Ez da luxuzko pieza bat bezalako prezioa. Akoplamendu unibertsal iraunkorra lortzen duzu, gogor lan egiten duena, dirutzarik ordaindu gabe. Geldialdirik ordaindu ezin duen edonorentzat, SWC-BH akoplamendu hau zure makineria egunero mugitzen mantentzen duen pieza fidagarria da.
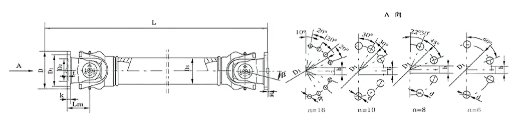
| Ez. | Girazio-diametroa D mm | Momentu nominala Tn KN·m | Ardatzak tolestura angelua β (°) | Torque nekatua Tf KN·m | Tamaina (mm) | Inertzia birakaria kg.m2 | Pisua (kg) | |||||||||||
| Lmin | D1 (js11) | D2 (H7) | D3 | Lm | n-d | k | t | b (h9) | g | Lmin | Handitu 100 mm | Lmin | Handitu 100 mm | |||||
| SWC100WH | 100 | 1.25 | 0.63 | 25° | 243 | 84 | 57 | 60 | 55 | 6-9 | 7 | 2.5 | - | - | 0.0039 | 0.00019 | 4.5 | 0.35 |
| SWC120WH | 120 | 2.5 | 1.25 | 25° | 307 | 102 | 75 | 70 | 65 | 8-11 | 8 | 2.5 | - | - | 0.0096 | 0.00044 | 7.7 | 0.55 |
| SWC150WH | 150 | 5 | 25 | 25° | 350 | 130 | 90 | 89 | 80 | 8-13 | 10 | 3 | - | - | 0.371 | 0.00157 | 18 | 24.5 |
| SWC180WH | 180 | 12.5 | 6.3 | 25° | 180 | 155 | 105 | 114 | 110 | 8-17 | 17 | 5 | - | - | 0.15 | 0.007 | 48 | 2.8 |
| SWC225WH | 225 | 40 | 20 | 15° | 520 | 196 | 135 | 152 | 120 | 8-17 | 20 | 5 | 32 | 9 | 0.365 | 0.0234 | 78 | 4.9 |
| SWC250WH | 250 | 63 | 31.5 | 15° | 620 | 218 | 150 | 168 | 140 | 8-19 | 25 | 6 | 40 | 12.5 | 0.817 | 0.0277 | 124 | 5.3 |
| SWC285WH | 285 | 90 | 45 | 15° | 720 | 245 | 170 | 194 | 160 | 8-21 | 27 | 7 | 40 | 15 | 1.756 | 0.051 | 185 | 6.3 |
| SWC315WH | 315 | 125 | 63 | 15° | 805 | 280 | 185 | 219 | 219 | 10-23 | 32 | 8 | 40 | 15 | 2.893 | 0.0795 | 262 | 8 |
| SWC350WH | 350 | 180 | 90 | 15° | 875 | 310 | 210 | 267 | 194 | 10-23 | 35 | 8 | 50 | 16 | 5.013 | 0.2219 | 374 | 15 |
| SWC390WH | 390 | 250 | 125 | 15° | 955 | 345 | 235 | 267 | 215 | 10-25 | 40 | 8 | 70 | 18 | 8.406 | 0.2219 | 506 | 15 |
| SWC440WH | 440 | 355 | 180 | 15° | 1155 | 390 | 255 | 325 | 260 | 16-28 | 42 | 10 | 80 | 20 | 15.79 | 0.4744 | 790 | 21.7 |
| SWC490WH | 490 | 500 | 250 | 15° | 1205 | 435 | 275 | 325 | 270 | 16-31 | 47 | 12 | 90 | 22.5 | 26.54 | 0.4744 | 1014 | 21.7 |
| SWC550WH | 550 | 710 | 355 | 15° | 1355 | 492 | 320 | 426 | 325 | 16-31 | 50 | 12 | 100 | 22.5 | 48.32 | 1.357 | 1526 | 34 |
Nekatuta bazaude zure lana moteltzen duten edo gehien behar dituzunean apurtzen duten akoplamendu zorrotzei aurre egiteaz, Raydafon-en SWC-WH Without Flex Welding Type Universal Coupling joko-aldaketa bat da. Sistema mekanikoetan pare-transmisio leuna behar duen edonorentzat aukera bikaina bihurtzen duten abantailak ditu: soldadura-urrats nahasirik ez, zure lan-fluxuan ondo egokitzen den errendimendu sendoa besterik ez.
Lehenik eta behin, gauza hau instalatzea uste baino errazagoa da. Tresna gehigarriak ekartzera edo soldadurak ezarri arte itxarotera behartzen zaituzten akoplamendu soldatuak ez bezala, SWC-WH-k torlojudun diseinua erabiltzen du. Lehendik duzun konfigurazioan sartu dezakezu azkar, eta noiz heldu den mantentze-lanak egiteko? Desmuntatzea oso erraza da, beraz, zure industria-tresnak denbora gutxiago ematen du inaktibo. Horregatik, pare handiko juntagailu unibertsal polifazetikoa da, ez dago buruhausterik gabe, sartu, behar duzuna konpondu eta lanera itzuli.
Iraunkortasunari dagokionez, gogor egiteko eraikia dago. Zama handiak eta etengabeko bibrazioak kikildu gabe maneiatzen dituzten material astunak erabiltzen ditugu, ezin hobea ekipoek inoiz etenik hartzen ez duten industria gune okupatuetarako. Eta soldadurarik ez dagoenez, ez duzu kezkatu behar soldadurak denborarekin higatzen direnean agertzen diren puntu ahul horietaz. Hau ez da hilabete batzuk behin ordezkatu beharko duen akoplamendua; industria-makineriarako akoplamendu unibertsal fidagarria da, zure eragiketak egonkor mantenduz.
Okerrak? Ez dago arazorik. Ardatzak ez dira inoiz ezin hobeto lerrokatuta geratzen, batez ere automobilgintza edo garraio sistemetan, baina SWC-WH-k desbiderapen angeluarrak, axialak eta erradialak kudeatzen ditu profesional batek bezala. Ardatz motibazio unibertsalaren akoplamendu mota da, potentzia leunki mugitzen uzten duena, nahiz eta lerrokadura okerra dagoenean: ez da kolperik, ez tantarik, ez errendimendu koherentea.
Eta hitz egin dezagun kostua. Soldadurak eskulan eta material gehigarriak gehitzen ditu, baina akoplamendu honek hori guztia saltatzen du. Gehiegizko gasturik gabe kalitatezko produktua lortzen duzu, edozein aurrekontutarako irabazi handia da. Itsas konfigurazioetan, hala nola, korrosioa etengabeko mehatxua den leku delikatuenetan ere, itsas juntagailu unibertsal fidagarri gisa mantentzen da, ur gaziaren aurka gogorra, zure zorrorako erraza.
Energia berriztagarrietan ari bazara, akoplamendu hau ere ondo egokitzen da. Akoplamendu unibertsal sendo bat da energia berriztagarrietarako ekipoetarako, energia eraginkortasunez mugitzen duena, apenas hondakinik gabe. Gainera, arina da, beraz, ez du zure sistema pisatzen; bikaina gauzak modu iraunkorrean funtzionatzen jarraitzeko, errendimenduari uko egin gabe.
Raydafonen ez ditugu akoplamenduak saltzen soilik, zure beharretara egokitzen direnak egiten ditugu. SWC-WH pertsonalizagarria da, beraz, nahi duzun bezala funtzionatzen du. Zure eragiketak leunagoak nola egin ditzakeen jakin-mina baduzu, jo gure taldeari. Bertatik pasako zaitugu, jergorik gabe, hitz egin zuzen akoplamendu honek zuregatik egin dezakeenari buruz.
Raydafon-en SWC-WH Without Flex Welding Type Universal Coupling-ek kardan-junturaren mekanikaren oinarrizko ezagutzatik funtzionatzen du, baina moldatu dugu industria-lanetarako gogor jotzeko. Puntu osoa? Lortu momentua ondo leunki lerrokatuta ez dauden bi ardatzen artean, angeluan daudenean ere. SWC cardano-ardatz baterako akoplamendu unibertsal gisa eraikitako akoplamendu unibertsal gisa, erdian gurutze-formako pieza bat erabiltzen du biraketa-potentzia etengabe jariatzen jarraitzeko; hain zuzen ere, momentu handiko juntagailu unibertsal bat da ijezketa-errotak edo igogailuak bezalako lan gogorrak egiteko.
Apur ditzagun funtzionamenduaren muina: bi uztarri sardexka daude, eta erdiko gurutze baten bidez lotzen dira (armiarma deitzen diogu). Konfigurazio honek uztarriei hainbat norabidetan biratzen uzten die; beraz, ardatzak 25°-raino desplazatzen badira ere (hori da ardatzaren tolestura angelu maximoa), momentua uniformeki pasatzen da. Hori babesteko zehaztapenak ere baditu: biraketa-diametroak φ58 eta φ620 bitartekoak dira, eta 0,15 eta 1000 kN·m arteko momentu nominala maneiatzen du. Ijezketa-eragiketetarako juntura unibertsal handiko akoplamendu gisa erabiltzen ari zarenean, diseinu honek esan nahi du sarrerako errotazioa irteerako mugimendu bihurtzen da oztoporik gabe; artikulazio artikulatu horiek beren kabuz biratzen dira lerrokadura okerrak konpontzeko, etenik gabe.
Zerk eragiten du "flexio bidezko soldadurarik gabe" piezak? Soldadurak torlojudun edo estutu diren konexioengatik aldatu ditugu. Soldadurak puntu ahulak izan daitezke denboran zehar, baina lokailu hauek hutsegite arriskuak murrizten dituzte, eta akoplamendua errazten dute, gainera. Artikulazio unibertsal industrialaren akoplamendu honek sardexka-buruaren diseinu berritua du, torlojuak askatzeari uzten diona, bere egitura-indarra %30-50 handituz. Hori oso garrantzitsua da meategiak edo eraikuntza guneak bezalako leku zorrotzetarako, non SWC junta unibertsalaren ardatzaren akoplamendu iraunkor gisa funtzionatzen duen, karga astunetan eutsi gabe.
Eraginkortasuna beste garaipen bat da hemen: transmisio-eraginkortasuna % 98,6ra iristen da. Pieza guztiak marruskadura eta energia-hondakinak murrizteko diseinatu ditugu; beraz, ez da harritzekoa juntagailu unibertsal eraginkorra izatea potentzia handiko konfigurazio industrialetan potentzia handia transmititzeko. Eta isilean dabil: normalean 30-40 dB(A). Hori biraketa orekatuari eta bibrazio moteltzeari esker da, zarata arazoa den lekuetarako, zarata baxuko junta unibertsala da. Gainera, energia-kostuak murrizten ditu, beraz, energia aurrezteko juntura unibertsalen akoplamendu beharren laukia egiaztatzen du.
Makineria astuneko junta unibertsalen akoplamendu sistemetan, hau da garrantzitsuena: SWC-WH indarrak uniformeki banatzen ditu bere zati guztietan. Pieza bakar batek ez du tentsio gehiegirik hartzen, hau da, matxura gutxiago eta bizitza luzeagoa da. Raydafon-en ez dugu akoplamendu hau zehaztapenak betetzeko soilik eraikitzen; zure lanerako egokitzen dugu, makineria astun malkartsua edo konfigurazio industrial espezializatuak izan. Zure sistema hobeto funtziona dezan edo gehiago iraun dezan moldatu nahi baduzu, hitz egin gure taldearekin: behar duzunari egokitzen zaion konfigurazioa lortzen lagunduko dizugu.
⭐⭐⭐⭐⭐ Zhang Wei, ingeniari mekanikoa, Beijing Industrial Machinery Co., Ltd.
Raydafon-en SWC-WH Without Flex Welding Type Universal Coupling izan dugu gure produkzio-ekipoan hilabete batzuk daramatzagu, eta errendimendu iraunkorra izan da, batez ere gure makinak karga handiak maneiatzeko bultzatzen ari garenean. Benetan estimatzen dudana bere eraikuntza sendoa da: beste zati batzuk okertzen has daitezkeen txanda luze eta zorrotz horietan ere, akoplamendu honek gauzak ondo funtzionatzen jarraitzen du: ez dago ausazko bibraziorik, ez gure lerro osoa botatzen duen bat-bateko hutsegiterik.
Instalazioa ere brisa izan zen. Gure taldeak ez zuen ordurik eman behar urrats konplexuak asmatzen; azkar muntatu genuen eta geroztik ez dugu moldatu beharrik izan. Gurea bezalako ekipamendu astunetarako, fidagarritasuna eta kalitatea ez dira negoziagarriak, eta akoplamendu honek bi laukiak egiaztatzen ditu. Raydafon-ek frogatu du hemen konfiantza izan dezakegun bazkidea dela; benetan pozik gaude produktu honek nola mantentzen duen.
⭐⭐⭐⭐⭐ John Smith, Lantegiko zuzendaria, Florida Manufacturing, AEB
Raydafon-en SWC-WH akoplamendua erabili nuen gure Floridako instalazioetan duela hilabete batzuk, eta behar genuena izan da: sinplea, axolagabea eta etengabe eraginkorra. Potentzia-transmisioa egonkor mantentzen da, eta hori funtsezkoa da gure ekoizpena erritmoan mantentzeko, eta ez dugu behin ere ukitu behar izan mantentze-lanetarako. Hori garaipen handia da guretzat; denbora gutxiago piezak konpontzeko denbora gehiago lana egiteko esan nahi du.
Makinak gogor exekutatzen ari garenean ere, tentsio handiarekin, akoplamendu honek ez du kikildu, aurrera jarraitzen du. Instalazioa ere erraza zen; gure teknikariek denbora gutxian ezarri zuten. Eta errendimendu hori arrazoizko prezio batekin lotzen duzunean? Balio sendoa da. Gainera, Raydafonen bezeroarentzako arreta bikaina izan zen galdera azkar bat genuenean: azkar itzuli ziren guregana. Zalantzarik gabe, haien produktuak erabiltzen jarraituko dugu.
⭐⭐⭐⭐⭐ Roberto Silva, Operazio zuzendaria, São Paulo Engineering Solutions, Brasil
Aspalditik Raydafonekin elkarlanean aritu gara, baina haien SWC-WH Without Flex akoplamendua benetan nabarmendu da gure eragiketetan; behin eta berriz frogatu da merezi duela. Nabaritzen den lehenengo gauza bere eraikuntza sendoa da; irauteko eraikia sentitzen da, eta hori gure makineriaren errendimendu fidagarria da.
Akoplamendu honetara aldatu baino lehen, gure pieza zaharretako desegokitze-arazoengatik eta gure pieza zaharretako higadura goiztiarengatik maiz gelditzen diren denborarekin ari ginen. Orain? Arazo horiek desagertu egin dira. Gure geldialdi-denbora gutxitu da, eta horrek produktibitaterako bultzada handia izan du. Eta instalazioa? Oso erraza: gure taldeak ez zuen denbora galdu arazoak konpontzen konfigurazioan. Fida daitezkeen potentzia transmisioko piezak behar dituen edozein enpresarentzat, hau ez da burukoa. Erabat gomendatuko nuke.
⭐⭐⭐⭐⭐ Peter Müller, arduradun teknikoa, Stuttgart Manufacturing GmbH, Alemania
Sei hilabete baino gehiago daramatzagu Raydafon-en SWC-WH akoplamendua erabiltzen gure Stuttgarteko ekoizpen instalazioan, eta akatsik gabekoa izan da, serio, arazo bakar bat ere ez denbora osoan. Bere diseinua zuzena da, eta horrek instalazioa erraza da; gure taldeak egokituta eta prest zeukan denbora gutxian, ez zen urrats konplikaturik edo tresna berezirik behar.
Benetan hunkitzen nauena, ordea, kalitatea da. Soldadura garbia eta sendoa da, eta materialak kalitate handikoak dira; esan dezakezu ertzak moztu ez dituztela. Erabilera arruntean primeran eusten da, higadura-zantzurik gabe erakusten du hilabete etengabeko funtzionamenduaren ondoren ere. Pozik gaude produktu honek nola funtzionatzen duen eta dagoeneko gure zerrendan dago etorkizuneko proiektuetarako erabiltzeko.
Helbidea
Luotuo Industrial Area, Zhenhai Barrutia, Ningbo hiria, Txina
Tel
Posta elektronikoa


+86-574-87168065


Luotuo Industrial Area, Zhenhai Barrutia, Ningbo hiria, Txina
Copyright © Raydafon Technology Group Co., Limited Eskubide guztiak erreserbatuta.
Links | Sitemap | RSS | XML | Pribatutasun politika |
