QR kodea
Produktuak
Jarri gurekin harremanetan

Mugikorra

Faxa
+86-574-87168065

Posta elektronikoa

Helbidea
Luotuo Industrial Area, Zhenhai Barrutia, Ningbo hiria, Txina
Raydafon-en SWC-BH Standard Flex Welding Mota Akoplamendu Unibertsala bereziki diseinatuta dago makineria astuneko agertoki zorrotzetan momentu astunak transferitzeko; pentsa ijezketa-errotak, garabiak eta meatze-ekipoak etengabeko tentsio handipean funtzionatzen dutenak.
Soldatutako uztarri batekin dator diseinuaren funtsezko ezaugarri gisa, eta bere biraketa-diametroak eremu praktiko bat hartzen du: 180 mm-tik 620 mm-raino. Lan gogorretarako bereizten duena 15 gradu arteko desalignamendu angeluarrak kudeatzeko gaitasuna da, eta gainera 1250 kN·m-ko momentu-kargak har ditzake, biak funtsezkoak dira eragiketak egonkor mantentzeko lan-baldintza gogorretan ere.
Eraikuntza-kalitatea iraunkortasunean oinarritzen da: akoplamenduak 35CrMo erresistentzia handiko altzairua erabiltzen du iraupen luzerako gogortasuna lortzeko, doitasuneko orratz errodamenduekin batera denboran zehar errendimendu leuna eta fidagarria bermatzeko. Horrek bi beharrizanetarako ezinbesteko aukera bihurtzen du: makineria astunerako egokitutako akoplamendu unibertsalak eta industria-mailako aplikazioetarako egokiak diren akoplamendu unibertsal soldatuak.
Raydafon-ek akoplamendu hau Txinan fabrikatzen du, eta ekoizpen guztiak ISO 9001 arauak jarraitzen ditu kalitate koherentea bermatzeko. Horrez gain, aukera pertsonalizatuak eskaintzen ditu eskakizun zehatzetara egokitzeko, fidagarritasuna eta balioa bilatzen duten enpresentzat lehiakorrak izaten jarraitzen duten prezioetan.
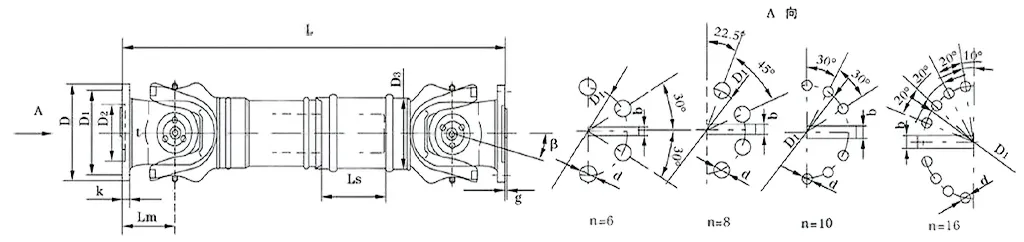
| Ez. | Girazio-diametroa D mm | Momentu nominala Tn KN·m | Ardatzak tolestura angelua β (°) | Torque nekatua Tf KN·m | Flex kantitatea Ls mm | Tamaina (mm) | Inertzia birakaria kg.m2 | Pisua (kg) | |||||||||||
| Lmin | D1 (js11) | D2 (H7) | D3 | Lm | n-d | k | t | b (h9) | g | Lmin | Handitu 100 mm | Lmin | Handitu 100 mm | ||||||
| SWC58BH | 58 | 0.15 | 0.075 | ≤22 | 35 | 325 | 47 | 30 | 38 | 35 | 4-5 | 3.5 | 1.5 | - | - | - | - | 2.2 | - |
| SWC65BH | 65 | 0.25 | 0.125 | ≤22 | 40 | 360 | 52 | 35 | 42 | 46 | 4-6 | 4.5 | 1.7 | - | - | - | - | 3 | - |
| SWC75BH | 75 | 0.5 | 0.25 | ≤22 | 40 | 395 | 62 | 42 | 50 | 58 | 6-6 | 5.5 | 2 | - | - | - | - | 5 | - |
| SWC90BH | 90 | 1 | 0.5 | ≤22 | 45 | 435 | 74.5 | 47 | 54 | 58 | 4-8 | 6 | 2.5 | - | - | - | - | 6.6 | - |
| SWC100BH | 100 | 1.5 | 0.75 | ≤25 | 55 | 390 | 84 | 57 | 60 | 58 | 6-9 | 7 | 2.5 | - | - | 0.0044 | 0.00019 | 6.1 | 0.35 |
| SWC120BH | 120 | 2.5 | 1.25 | ≤25 | 80 | 485 | 102 | 75 | 70 | 68 | 8-11 | 8 | 2.5 | - | - | 0.0109 | 0.00044 | 10.8 | 0.55 |
| SWC150BH | 150 | 5 | 2.5 | ≤25 | 80 | 590 | 13 | 90 | 89 | 80 | 8-13 | 10 | 3 | - | - | 0.0423 | 0.00157 | 24.5 | 0.85 |
| SWC160BH | 160 | 10 | 5 | ≤25 | 80 | 660 | 137 | 100 | 95 | 110 | 8-17 | 15 | 3 | 20 | 12 | 0.145 | 0.006 | 68 | 1.72 |
| SWC180BH | 180 | 20 | 10 | ≤25 | 100 | 810 | 155 | 105 | 114 | 130 | 8-17 | 17 | 5 | 24 | 14 | 0.175 | 0.007 | 70 | 2.8 |
| SWC200BH | 200 | 32 | 16 | ≤15 | 110 | 860 | 170 | 120 | 127 | 135 | 8-17 | 19 | 5 | 28 | 16 | 0.31 | 0.013 | 86 | 3.6 |
| SWC225BH | 225 | 40 | 20 | ≤15 | 140 | 920 | 196 | 135 | 152 | 120 | 8-17 | 20 | 5 | 32 | 9 | 0.538 | 0.0234 | 122 | 4.9 |
| SWC250BH | 250 | 63 | 31.5 | ≤15 | 140 | 1035 | 218 | 150 | 168 | 140 | 8-19 | 25 | 6 | 40 | 12.5 | 0.966 | 0.0277 | 172 | 5.3 |
| SWC285BH | 285 | 90 | 45 | ≤15 | 140 | 1190 | 245 | 170 | 194 | 160 | 8-21 | 27 | 7 | 40 | 15 | 2.011 | 0.051 | 263 | 6.3 |
| SWC315BH | 315 | 125 | 63 | ≤15 | 140 | 1315 | 280 | 185 | 219 | 180 | 10-23 | 32 | 8 | 40 | 15 | 3.605 | 0.0795 | 382 | 8 |
| SWC350BH | 350 | 180 | 90 | ≤15 | 150 | 1410 | 310 | 210 | 267 | 194 | 10-23 | 35 | 8 | 50 | 16 | 7.053 | 0.2219 | 582 | 15 |
| SWC390BH | 390 | 250 | 125 | ≤15 | 170 | 1590 | 345 | 235 | 267 | 215 | 10-25 | 40 | 8 | 70 | 18 | 12.164 | 0.2219 | 738 | 15 |
| SWC440BH | 440 | 355 | 180 | ≤15 | 190 | 1875 | 390 | 255 | 325 | 260 | 16-28 | 42 | 10 | 80 | 20 | 21.42 | 0.4744 | 1190 | 21.7 |
| SWC490BH | 490 | 500 | 250 | ≤15 | 190 | 1985 | 435 | 275 | 325 | 270 | 16-31 | 47 | 12 | 90 | 22.5 | 32.86 | 0.4744 | 1452 | 21.7 |
| SWC550BH | 550 | 710 | 355 | ≤15 | 240 | 2300 | 492 | 320 | 426 | 305 | 16-31 | 50 | 12 | 100 | 22.5 | 68.92 | 1.357 | 2380 | 34 |
Potentzia fidagarrian mantentzen duten industria astuneko engranajeei buruz hitz egiten dugunean, SWC juntagailu unibertsalaren akoplamendua (askotan SWC kardan ardatzaren junta unibertsalaren akoplamendua deitua) negoziaezina den pieza da. Lanean zaila izango zara ijezketa-errotak, igogailuak eta mota guztietako makineria astun-sistema gogorrak bezalako konfigurazioetan, potentzia-transmisioaren izkinak moztea aukera bat ez den lekuetan.
Bere lan nagusia? Konektatu ezin hobeto lerrokatzen ez diren bi transmisio-ardatz (ardatz ez-kointzidentzialak) eta ziurtatu potentzia oztoporik gabe mugitzen dela, funtzionamendu-baldintzak gogorrak izan arren. Ez toteltzerik, ez etenik, transferentzia egonkorra besterik ez da garrantzitsuena denean.
Apur ditzagun errendimendu hau posible egiten duten funtsezko zehaztapenak:
Girazio-diametroa: φ58 eta φ620 bitartekoa da, industria-beharretarako tarte zabala estaltzen duena. Momentu nominala: 0,15 kN·m-tik 1000 kN·m bitarteko edozein lekutan hartzen du; nahikoa muskulu-momentu handiko eskakizunetarako.
Non nabarmentzen da gehien? Pentsa ijezketa-eragiketak, non errotaren presio biziaren menpe eusten duen juntura unibertsal astun eta fidagarri gisa jarduten duen. Edo altxatzeko eta materialak manipulatzeko ekipoetan, non SWC artikulazio unibertsalaren ardatzaren akoplamendu iraunkor gisa, gauzak egonkor mantentzen dituen karga gogorrak direnean ere. Ez du funtzionatzen soilik, eragiketak egonkor mantentzen ditu egoera gogorra denean.
SWC juntura unibertsalaren akoplamendua ez da batik bat bakarrik, lurretik diseinatuta dago industria-ezarpenetan gogorra izateko, errendimendua eta iraupena areagotzen duten ezaugarriekin. Ikus dezagun zer den bere egitura hain ondo funtzionatzen duen.
Diseinu adimenduna eta segurua
Bere oinarrian sardexka buru diseinu integratua dago; hemen ez dago torlojuek elkarri atxikitako pieza bereizirik. Horrek axola du torlojuak askatzeko edo hausteko arriskua murrizten duelako, beste konfigurazio batzuekin ohikoa den buruhaustea. Izan ere, diseinu honek egitura-indarra %30etik %50era igotzen du estilo zaharragoekin alderatuta. Makineria astuneko akoplamendu unibertsal batean konfiantza duen edonorentzat, horrek matxura gutxiago esan nahi du gauzak biziak direnean. Artikulazio unibertsalen akoplamendu sendoa da, ondo funtzionatzen jarraitzen duena, nahiz eta estres handiko inguruneetan beste pieza batzuek huts egin dezaketenetan.
Karga Eramateko eraikia
Hau ez da zure batez besteko konektorea. SWC akoplamendu unibertsal astunak pisu larriak kudeatzeko egina dago: pentsatu meatze-tresnak, eraikuntza-makineria eta beste kolpe astunak. Presioan atzera egingo ez den juntagailu unibertsal malkartsu bat behar duzunean, hau da ematen duena. Ez da tamaina soilik; materialak eta ingeniaritza elkarrekin lan egitea da, azkar desgastu gabe pisua hartzeko.
Potentzia modu eraginkorrean mugitzen du
Galdetu al zaizu inoiz nora doan energia guztia konfigurazio industrial handietan? Hemen ez da asko alferrik galtzen. Momentu handiko junta unibertsal akoplamendu honek % 98,6rainoko eraginkortasun-mailak lortzen ditu, hau da, energia gutxiago galtzen da bero edo marruskadura gisa. Kostuak murriztea bilatzen duten eragiketetarako, hori irabazi handia da. Potentzia handien transmisio-sistemetan aldea eragiten duen juntura unibertsal-akoplamendu eraginkorra da, energia-fakturak kontrolatzen dituen juntura unibertsal fidagarri gisa jokatzen duena.
Isilik eta Isilik
Makineria ozena benetako arazoa izan daiteke, batez ere zaratak garrantzitsuak diren lekuetan. SWC juntura unibertsalaren akoplamenduak gauzak lasai mantentzen ditu, normalean 30-40 dB(A) arteko zarata mailarekin, elkarrizketa arrunt bat baino isilagoa. Horrek zarata baxuko juntagailu unibertsal bikaina da soinua mantentzea funtsezkoa den inguruneetarako, behar duzun fidagarritasunari uko egin gabe. Fabrikako solairu batean edo doitasun-tailer batean egon, martxa leuneko juntagailu unibertsal honek erraketarik gabe egiten du lana.
SWC-BH Standard Flex Welding Mota Akoplamendu Unibertsala ez da beste zati bat; potentzia eraginkortasunez mugitzeko eraikitako lan-zaldia da, makinak tentsio handian daudenean ere. Apurtu dezagun benetan distira duen lekuan.
Hartu makineria astuna eta eraikuntzako tresneria, adibidez. Muturreko kargei eta etengabeko bibrazioei aurre egiten diezunean —pentsa, hondeamakinak edo bulldozerak—, akoplamendu honek ez du atzera egiten. Bere diseinu soldatuak gogortasun gehigarria gehitzen du, beraz, mugimendu horren guztiaren ondorioz pitzatu edo higa daitezkeen aukera ahulagoak baino gehiago irauten ditu. Momentu handiko akoplamendu unibertsal mota da, potentzia jarioa mantentzen duena, lana zenbaterainokoa den.
Fabriketan, batez ere garraiatzaile-lineetan eta muntaketa-sistemetan, doitasunak du garrantzia. Industria-mailako akoplamendu unibertsal honek angeluak eta lerrokadura-aldaketak kudeatzen ditu taupada bat saltatu gabe, abiadurak egonkor mantenduz. Horrek esan nahi du denbora gutxiago matxurak konpontzeko eta denbora gehiago produkzioa bide onetik mantentzen. Ingeniariei gustatzen zaie deformazio axial, erradial eta angeluarrei egokitzen zaielako, beste pieza batzuk bota ditzaketen desplazamendu txikietara.
Automobilgintzan eta garraioan, ardatz eragileek zerbait fidagarria behar dute potentzia leunki pasatzeko. SWC-BH ondo egokitzen da, kamioietan, trenetan edo bestelako ibilgailuetan. Soldadura malguaren diseinuari esker, lehendik dauden konfigurazioetan sartzea erraza da, abiadura handiak maneiatzen dituena, segurtasunaren izkinak moztu gabe. Gauzak mugitzen jarraitzeko akoplamendu unibertsala da.
Itsasoko eta itsasoko lanak gogorrak dira ekipoetan: ur gazia, eguraldi gogorra, ezusteko kargak. Akoplamendu honek bereari eusten dio hemen ere. Korrosioarekiko erresistentea den itsas akoplamendu unibertsala denez, gatz-ihin eta itsaso zakarrari aurre egiten dio, itsasontzien motorrak eta makina osagarriak etengabe martxan mantenduz. Ez herdoilarekin lotutako hutsegiterik, ez ustekabeko itzaltzerik.
Energia berriztagarrien konfigurazioek, hala nola aerosorgailuak eta eguzki-jarraigailuak, energia xahutzen ez duten piezak behar dituzte. SWC-BH energia berriztagarrien akoplamendu unibertsal gisa aurrera egiten du, potentzia ia inolako erreakziorik gabe transferituz. Kalitate estandar globalak betetzen ditu, beraz, Europako parke eoliko batean edo Asiako eguzki planta batean egon, entregatzen du.
Raydafonen ez ditugu akoplamendu hauek saltzen soilik, neurrira egiten ditugu. Tamaina, material edo momentu jakin bat behar duzu? Gure taldeak SWC-BH doitzen du zure beharretara egokitzeko. Jarri harremanetan eta zure sistemari etekinik handiena ateratzen lagunduko dizugu.
Osagai mekanikoekin fidagarria den norbait bilatzen ari zarenean, batez ere SWC-BH Soldadura Flexio estandarra duten akoplamendu unibertsala bezalako gauzak, Raydafon ez da beste aukera bat. Kalitatea bizi eta arnasten duen fabrikatzailea gara, eta hori egiten dugun zati guztietan ikusten da.
Lehenik eta behin, kalitatea ez da guretzat pentsatutakoa. Goi-mailako ingeniaritza-teknikak erabiltzen ditugu eta juntura unibertsalen akoplamendu bakoitza (makineria astunentzako momentu handikoa edo fabrika konfiguraziorako industria-mailako eredua) kontrol zorrotzen bidez jartzen dugu. Pieza bakoitzak ISO 9001 arauak betetzen ditu, eta gogor probatzen ditugu: muturreko kargak, baldintza gogorrak, zure industriak botatzen dion edozein dela ere. Helburua? Ustekabeko hutsegiterik ez, zure eragiketetarako arrisku gutxiago eta zure sistemak ondo funtzionatzen jarraitzen duen akoplamendua.
Gero pertsonalizazioa dago. Izan gaitezen benetakoak: ez dira bi lan berdinak. Agian dimentsio espezifikodun akoplamendu unibertsal bat behar duzu, edo korrosioarekiko erresistentea den materialarekin egindako itsas propultsio akoplamendu unibertsal bat, edo baita momentu egokiarako sintonizatutako energia berriztagarriko akoplamendu unibertsal bat ere. Ez zaitugu egiten "tamaina bakarreko" zati bat egokitzeko. Esaiguzu zer behar duzun, eta zure lehendik dagoen konfigurazioan sartzeko egokituko dugu, automozioetan, itsasoan edo eguzki/haize sistemetan.
Eta kostuak ere baditugu. Ez zenuke akoplamendu ona eta prezio justuaren artean aukeratu behar. Gure hornikuntza-katea optimizatu dugu eta gure produkzioa eskalatu dugu, pieza espezializatuetan ere prezio lehiakorrak eskain ditzagun (adibidez, itsas propultsioko akoplamendu unibertsal horretan edo momentu handiko industria-eredu horretan), kalitateari muzin egin gabe. Irauten duen balioa ematea da, ez bakarrik azkar huts egiten duen pieza merke bat.
Gure taldea ere ez da desagertzen "ordena" sakatu ondoren. Lehenengo deitik —zure energia berriztagarrien ekipamendurako edo fabrikako linearako juntura unibertsal akoplamendu egokiena zein den asmatzen saiatzen ari zarenean— galderarik izanez gero salmenta osteko laguntzara arte, hemen gaude. Urteetako industriako ezagutza dugu, beraz, aukera egokira bideratu ahal izango zaitugu, geldialdi-denbora saihesten lagunduko dizugu eta ziurtatu zure akoplamendua behar duzuna egiten duela.
Raydafonen ez gara piezak saltzen soilik, lankidetzak eraikitzen ari gara. Zure eragiketak aurrera jarraitzeko konfiantza duzun taldea izan nahi dugu, zu bezain gogor lan egiten duten baterako irtenbide unibertsalekin. Behar zehatzak badituzu, jarri harremanetan gaur gure espezialistekin; hitz egin dezagun nola lagundu dezakegun.
Helbidea
Luotuo Industrial Area, Zhenhai Barrutia, Ningbo hiria, Txina
Tel
Posta elektronikoa


+86-574-87168065


Luotuo Industrial Area, Zhenhai Barrutia, Ningbo hiria, Txina
Copyright © Raydafon Technology Group Co., Limited Eskubide guztiak erreserbatuta.
Links | Sitemap | RSS | XML | Pribatutasun politika |
